The Global
Information Hub for
Lighting Technologies
and Design
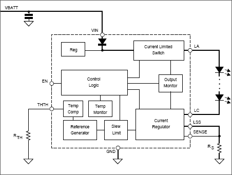
Functional Block Diagram of A6260https://www.led-professional.com/media/products_led-driver-ics-modules_allegro-microsystems-introduces-350ma-high-brightness-led-current-regulator-for-6-to-40v-supply_allegro_a6260_block-gif/viewhttps://www.led-professional.com/media/products_led-driver-ics-modules_allegro-microsystems-introduces-350ma-high-brightness-led-current-regulator-for-6-to-40v-supply_allegro_a6260_block-gif/@@images/image-1200-b70664a5968b8381bf269fc9b97c4797.png