The Global
Information Hub for
Lighting Technologies
and Design
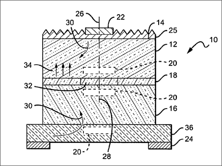
Cross section of one general embodiment of the inventionhttps://www.led-professional.com/media/resources-1_intellectual-properties_cree-granted-patent-on-led-with-current-confinement-structure-and-surface-roughening_us_200807335920_b2-gif/viewhttps://www.led-professional.com/media/resources-1_intellectual-properties_cree-granted-patent-on-led-with-current-confinement-structure-and-surface-roughening_us_200807335920_b2-gif/@@images/image-1200-5f8d574c8558d1c4e31fe3d736047f18.png
Cross section of one general embodiment of the invention