The Global
Information Hub for
Lighting Technologies
and Design
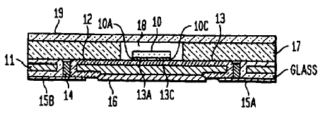
Schematic cross section of an LED packaged for high temperature operationhttps://www.led-professional.com/media/resources-1_intellectual-properties_light-emitting-diodes-packaged-for-high-temperature-operation-1_us7098483-1-gif/viewhttps://www.led-professional.com/media/resources-1_intellectual-properties_light-emitting-diodes-packaged-for-high-temperature-operation-1_us7098483-1-gif/@@images/image-1200-7b22de20f756654eb9e9162cab9c65b7.png
Schematic cross section of an LED packaged for high temperature operation