The Global
Information Hub for
Lighting Technologies
and Design
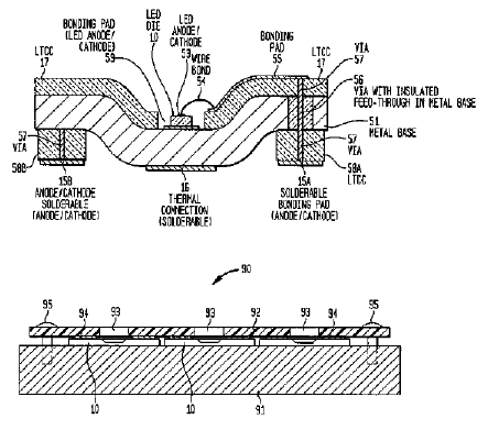
Embodiment of the packaged LED and schematic cross sectionhttps://www.led-professional.com/media/resources-1_intellectual-properties_light-emitting-diodes-packaged-for-high-temperature-operation_led_packaged-gif/viewhttps://www.led-professional.com/media/resources-1_intellectual-properties_light-emitting-diodes-packaged-for-high-temperature-operation_led_packaged-gif/@@images/image-1200-7b22de20f756654eb9e9162cab9c65b7.png
Embodiment of the packaged LED and schematic cross section