The Global
Information Hub for
Lighting Technologies
and Design
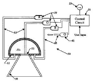
Example of a radiant energy emitting systemhttps://www.led-professional.com/media/technology_intellectual-properties_integrating-chamber-cone-light-using-led-sources_us7157694-gif/viewhttps://www.led-professional.com/media/technology_intellectual-properties_integrating-chamber-cone-light-using-led-sources_us7157694-gif/@@images/image-1200-9df6b9f62df2bbfc6524da7ce3159457.png