The Global
Information Hub for
Lighting Technologies
and Design
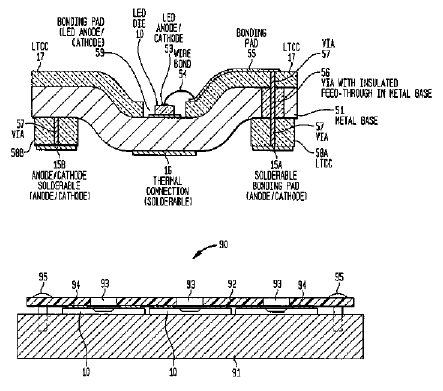
Embodiment of the packaged LED and schematic cross sectionhttps://www.led-professional.com/media/technology_intellectual-properties_light-emitting-diodes-packaged-for-high-temperature-operation_led_packaged-gif/viewhttps://www.led-professional.com/media/technology_intellectual-properties_light-emitting-diodes-packaged-for-high-temperature-operation_led_packaged-gif/@@images/image-1200-7d59bc7d2e85cd9798a29a32ae297b7b.png
Embodiment of the packaged LED and schematic cross section