Products, Materials + Tools
|
Jul 26, 2010
Allegro® Introduces a New Three-Channel Constant-Current LED Driver
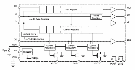
Allegro MicroSystems, Inc. introduces a new three-channel constant-current LED driver with on-chip oscillator for simple programmable brightness control. It is typically used to drive a cluster of red/green/blue (RGB) LEDs for one pixel in a large display or a lighting fixture.
It precisely controls LED brightness via 10-bit pulse-width modulation (PWM) per channel, complemented by 7-bit analog current control per channel to adjust color balance. Allegro’s A6281 drives up to 150 mA per channel and operates from a supply voltage of up to 17 V. Applications include large video displays and signs and architectural and decorative lighting.
The maximum supply voltage of 17 volts allows series strings of up to four or more LEDs on each output. An on-chip voltage regulator supplies the internal logic and reduces the number of external components and connections.
Control data is loaded serially, minimizing the number of pins on the device and the package size. Only four control signals are needed: Clock, Serial Data, Latch, and Output Enable. These signals are buffered on the chip to drive the next pixel in a daisychained cascade. An innovative clock regeneration scheme allows large numbers (hundreds, depending on clock frequency and pixel spacing) of devices to be daisy-chained. Pixel spacing can range up to 3 meters (10 feet).
The A6281 requires only three external components to operate: a resistor to set the maximum output currents and decoupling capacitors for the on-chip voltage regulator and LED supply voltage. The high level of integration and tiny 3 × 3-mm QFN package enable compact board-level designs. Allegro’s A6281 is available in the "E" extended temperature range of -40°C to +85°C.
Further information on this product can be found at the following link: http://www.allegromicro.com/en/Products/Part_Numbers/6281/index.asp . For a high- resolution image of this new device, please email Stephanie Fennelly at sfennelly@allegromicro.com .
About Allegro:
Control data is loaded serially, minimizing the number of pins on the device and the package size. Only four control signals are needed: Clock, Serial Data, Latch, and Output Enable. These signals are buffered on the chip to drive the next pixel in a daisychained cascade. An innovative clock regeneration scheme allows large numbers (hundreds, depending on clock frequency and pixel spacing) of devices to be daisy-chained. Pixel spacing can range up to 3 meters (10 feet).
The A6281 requires only three external components to operate: a resistor to set the maximum output currents and decoupling capacitors for the on-chip voltage regulator and LED supply voltage. The high level of integration and tiny 3 × 3-mm QFN package enable compact board-level designs. Allegro’s A6281 is available in the "E" extended temperature range of -40°C to +85°C.
Further information on this product can be found at the following link: http://www.allegromicro.com/en/Products/Part_Numbers/6281/index.asp . For a high- resolution image of this new device, please email Stephanie Fennelly at sfennelly@allegromicro.com .
About Allegro:
Allegro MicroSystems, Inc. is a leader in developing, manufacturing and marketing high-performance power integrated circuits and integrated Hall-effect magnetic sensors. Allegro’s innovative solutions serve high-growth applications within the automotive, communications, computer/office automation, consumer and industrial markets. Allegro is headquartered in Worcester, Massachusetts (USA) with design and applications centers located in North and South America, Asia, and Europe. Further information about Allegro can be found at www.allegromicro.com .