IP, Reports & Roadmaps | Apr 29, 2017

LED System for Illumination and Data Transmission

Abstract:
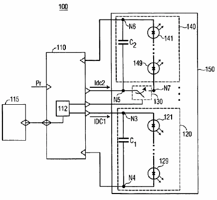
A LED system (100) for illumination and data transmission employs a LED driver (110), an electronic switch (130), and an illumination unit (150). In a first illumination state, illumination unit (150) receives LED current(s) from LED driver (110) to emit a first light output. In a second illumination state, the illumination unit (150) receives additional LED current(s) from LED driver 110 via the electronic switch as controlled by the LED driver where the illumination unit (150) additionally emits a second light output. LED system (100) optically communicates a data bit with each transition of the illumination unit (150) from the first illumination state to the second illumination state, and vice-versa.

Claims


1. A LED system (100) for illumination and data transmission, said LED system (100) comprising: a LED driver (110) operable to provide a control signal and a plurality of LED currents; an electronic switch (130) in electrical communication with said LED driver (110) to receive the control signal; an illumination unit (150) including a plurality of LED light sources (120, 140), wherein a first at least one LED light source (120) is in electrical communication with said LED driver (110) to facilitate a flow of a first at least one LED current from said LED driver (110) through said first at least one LED light source (120) whereby said first at least one LED light source (120) emits a first light output in response to the flow of the first at least one LED current through said first at least one LED light source (120), wherein a second at least one LED light source (140) is in electrical communication with said electronic switch (130) to facilitate a flow of a second at least one LED current from said LED driver (110) through said second at least one LED light source (140) whereby said second at least one LED light source (120) emits a second light output in response to the flow of the second at least one LED current through said second at least one LED light source (140), and wherein said electronic switch (130) is operable to one of facilitate or impede the flow of the second at least one LED current from said LED driver (110) through said second at least one LED light source (140) as a function of the control signal.

2. The LED system (100) of claim 1, wherein said illumination unit (150) switches between a first illumination state and a second illumination state; wherein the first illumination state is defined by said electronic switch (130) impeding the flow of the second at least one LED current from said LED driver (110) through said second at least one LED light source (140) whereby the first illumination state includes a first emission of the first light output by said first at least one LED light source (120) and excludes a second emission of the second light output by said second at least one LED light source (140); and wherein the second illumination state is defined by said electronic switch (130) facilitating the flow of the second at least one LED current from said LED driver (110) through said second at least one LED light source (140) whereby the second illumination state includes the first emission of the first light output by said first at least one LED light source (120) and the second emission of the second light output by said second at least one LED light source (140).

3. The LED system (100) of claim 2, wherein said LED system (100) optically communicates a first data bit upon each transition of said illumination states (150) from the first illumination state to the second illuminate state; and wherein said LED system (100) optically communicates a second data bit upon each transition of said illumination states (150) from the second illumination state to the first illuminate state.

4. The LED system (100) of claim 1, wherein each said first at least one LED light source (120) includes at least one LED (121, 129).

5. The LED system (100) of claim 4, wherein each said first at least one LED light source (120) further includes a capacitor (C.sub.1).

6. The LED system (100) of claim 1, wherein each said second at least one LED light source (140) includes at least one LED (121, 129).

7. The LED system (100) of claim 6, wherein each said second at least one LED light source (140) further includes a capacitor (C.sub.2).

8. The LED system (100) of claim 1, wherein said first at least one LED light source (140) includes a first LED light source (140); and wherein said first LED light source (140) includes at least one LED (141, 149) connected in series to said electronic switch (130).

9. The LED system (100) of claim 8, wherein the series connection of said at least one LED (141, 149) and said electronic switch (130) is connected to said LED driver (110).

10. The LED system (100) of claim 8, wherein said first LED light source (140) further includes a capacitor (C.sub.2) connected in parallel to the series connection of said at least one LED (141, 149) and said electronic switch (130).

11. The LED system (100) of claim 1, wherein said LED driver (110) includes a controller (112) operable to generate the control signal in response to a reception of a data signal indicative of data bit to be optically communicated by said LED system (100).

12. The LED system (100) of claim 12, wherein said controller (112) is connected to an input signal terminal of said electronic switch (130).

13. The LED system (100) of claim 1, further comprising: a controller (112) operable to generate the control signal as directed by said LED driver (110), wherein said LED driver (110) directs said controller (112) to generate the control signal in response to a reception of a data signal indicative of data bit to be optically communicated by said LED system (100).

14. The LED system (100) of claim 13, wherein said controller (112) is connected to an input signal terminal of said electronic switch (130).

15. A method of operating a LED system (100) for illumination and data transmission, said method comprising: transitioning the LED system (100) between a first illumination state and a second illumination state, wherein the first illumination state includes a first transmission of a first light output, and the second illumination state includes the first transmission of the first light output and a second transmission of a second light output; optically communicating a first data bit upon each transition of the LED system (100) from the first illumination state to the second illumination state; and optically communicating a second data bit upon each transition of the LED system (100) from the second illumination state to the first illumination state.

16. A LED system (100) for illumination and data transmission, said LED system (100) comprising: means for transitioning between a first illumination state and a second illumination state, wherein the first illumination state includes a first transmission of a first light output, and the second illumination state includes the first transmission of the first light output and a second transmission of a second light output; means for optically communicating a first data bit upon each transition of the LED system (100) from the first illumination state to the second illumination state; and means for optically communicating a second data bit upon each transition of the LED system (100) from the second illumination state to the first illumination state.

See full document in pdf.

page_peel