IP, Reports & Roadmaps | Apr 29, 2017

Light Emitting Diodes packaged for high temperature operation

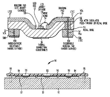
In accordance with the invention, an LED packaged for high temperature operation comprises a metal base including an underlying thermal connection pad and a pair of electrical connection pads, an overlying ceramic layer, and a LED die mounted overlying the metal base. The LED is thermally coupled through the metal base to the thermal connection pad, and the electrodes are electrically connected to the underlying electrical connection pads. A low thermal resistance insulating layer can electrically insulate other areas of die from the base while permitting heat passage. Heat flow can be enhanced by thermal vias to the thermal connector pad. Ceramic layers formed overlying the base can add circuitry and assist in distributing emitted light. The novel package can operate at temperatures as high as 250°C.

Background of the invention

Light emitting diodes (LEDs) are being used as light sources in an increasing variety of applications extending from communications and instrumentation to household, automotive and visual display. Many of these applications require higher levels of power or subject the LEDs to higher temperature operating environments. In response, LED manufacturers have improved the purity of the semiconductor materials in order to keep the LED output intensity high as temperature increases. As a result, desired applications of LEDs are now constrained by the thermal limits of their packaging.

The currently prevalent plastic LED packages have an operational temperature limit of about 80°C. Some LED die, however, will operate at 120°C., and industry preference is for an operational temperature of about 200°C. Accordingly there is a need for an improved light emitting diode packaged for high temperature operation.
 

Brief summary of the invention

In accordance with the invention, an LED packaged for high temperature operation comprises a metal base including an underlying thermal connection pad and a pair of electrical connection pads, an overlying ceramic layer, and a LED die mounted overlying the metal base. The LED is thermally coupled through the metal base to the thermal connection pad, and the electrodes are electrically connected to the underlying electrical connection pads. A low thermal resistance insulating layer can electrically insulate other areas of die from the base while permitting heat passage. Heat flow can be enhanced by thermal vias to the thermal connector pad. Ceramic layers formed overlying the base can add circuitry and assist in distributing emitted light. The packaged diode can be made by the low temperature co-fired ceramic on metal technique (LTCC-M). The LTCC-M packaged diode can operate at temperatures as high as 250°C.

Claims


1. A LED device for high temperature operation comprising: at least one packaged LED assembly comprising a metal base having a thermal connection surface, wherein the at least one packaged LED assembly further comprises: at least one LED die having a pair of electrodes overlying and electrically insulated from the metal base, the LED die thermally coupled through the metal base to the thermal connection surface, a layer of ceramic overlying the metal base, the layer of ceramic having at least one opening to house the at least one LED die, and a plurality of conductive traces insulated from the metal base, the electrodes electrically connected to the conductive traces; an apertured printed circuit (PC) board overlying the at least one packaged LED assembly, the at least one LED die aligned with an aperture of the PC board; and a heat sink underlying the at least one packaged LED assembly, the heat sink secured in thermal contact with the thermal connection surface of the metal base of the at least one packaged LED assembly.

2. The device of claim 1 wherein the apertured PC board further comprises electrical connections to the at least one packaged LED assembly.

3. The device of claim 1 wherein the apertured PC board is secured to the heat sink to hold the at least one packaged LED assembly in thermal contact with the heat sink.

4. The device of claim 1 wherein thermal grease is disposed between the at least one packaged LED assembly and the heat sink to facilitate thermal coupling between the at least one packaged LED assembly and the heat sink.

5. The device of claim 1 wherein the at least one packaged LED assembly is surface mounted on the PC board with the at least one LED die aligned with apertures in the board.

6. The device of claim 1 wherein the at least one packaged LED assembly is connected to contacts on the PC board by solder reflow.

7. The device of claim 1 wherein the heat sink comprises aluminum.

8. The device of claim 1 wherein a plurality of packaged LED assemblies are disposed in a closely packed hexagonal array.

9. The device of claim 1 wherein a plurality of packaged LED assemblies are distributed in sectors around the circumference of a circle and in the center of the circle to emulate a concentrated light source.

10. The device of claim 1 wherein the at least one LED die comprises a plurality of LED dies disposed on the metal base in a closely packed hexagonal array.

11. The device of claim 1 wherein the at least one LED die comprises a plurality of LED dies distributed in sectors around the circumference of a circle and in the center of the circle to emulate a concentrated light source.

See full document in pdf.

page_peel